【25-cv-01263】店铺避雷!Rabicoff Law律所代理UpChat指控印度公司技术专利维权
点击蓝字,关注我们
【科赛因维权申诉】



UpChat LLC 通信系统专利维权
美国公司UpChat LLC在德克萨斯州东区联邦法院提起诉讼,指控印度公司KEKA TECHNOLOGIES PRIVATE LIMITED制造、销售的产品,侵犯了其一项关于通信系统与方法的专利权。原告已提交详细的技术对比图表,主张被告产品构成字面侵权或等同侵权。
01
案件信息

案件号:25-cv-01263
原告:UpChat LLC
起诉类型:专利侵权
起诉日期:2025年12月31日
原告代理律所:Rabicoff Law LLC
管辖法院:美国德克萨斯州东区联邦法院
02
原告介绍

UpChat LLC是一家在美国新墨西哥州成立的公司,其主要营业地位于新墨西哥州阿尔伯克基。UpChat LLC专注于通信技术领域,主要提供面向企业的网站 AI 聊天/客服插件,可通过嵌入代码快速部署,帮助企业实现 24/7 自动对话与访客咨询回复,并支持线索收集及与其他常用业务系统对接,从而提升获客与客户支持效率。

03
涉案知识产权

(1)涉案专利





卖家/制造商需重点规避:
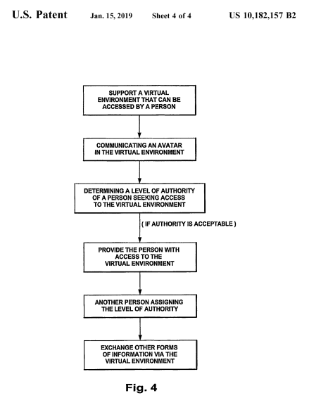
技术方案比对风险:立即排查自身产品(尤其是通信类软硬件)的技术方案,是否与原告专利US10,182,157B2所保护的系统或方法高度重合或实质相同。避免制造、销售、许诺销售或进口可能落入该专利保护范围的产品。
产品描述与功能风险:在官网、宣传资料或电商平台的商品描述中,谨慎描述产品的通信机制、工作流程或技术架构,避免使用与原告专利权利要求中表述相同或高度近似的功能性描述,以免在诉讼中成为侵权佐证。
内部测试的侵权风险:注意,即使仅为了内部测试或评估而实施专利技术方案(例如,让员工使用包含侵权技术的产品或软件),在美国专利法下也可能构成直接侵权行为。
现有技术排查与文档留存:如果认为自身技术属于行业现有公知技术,或研发时间早于该专利的申请日(2016年6月30日),务必系统性地保存好相关研发记录、设计图纸、源代码、产品手册等证据,以备在可能的纠纷中用于主张现有技术抗辩或无效原告专利。
供应链合规审查:对于通信设备制造商或集成商,应加强对上游供应商提供的核心模块或软件的知识产权合规审查,在采购合同中明确知识产权侵权责任条款,以分担潜在风险。
04
联系科赛因

如您不幸收到本案 TRO(临时限制令)邮件,店铺资金被冻结,可立即联系科赛因,我们将为您免费提供和解金额预估及专业应对方案。若委托科赛因代理和解,如最终达成的和解金额未获得您的认可,科赛因不收取任何服务费用。
科赛因拥有自有专业美国律师团队,具备多年跨境知识产权诉讼经验,熟悉 GBC 律所等原告代理律所的办案风格及策略。对于TRO系列案件,我们拥有大量低额和解金并成功撤诉案例;同时,我们也代理过多起缺席判决案件,帮助卖家成功追回被划走的资金,最大程度维护跨境卖家的合法权益。
*本文仅供信息参考,不构成法律意见或律师—当事人关系。
如有材料需要可添加小助理。
-扫码添加小助理-


